
Note:
1, Please contact sales representative to confirm the correctness and availability of the part number
2, Line Driver is only available with 5VDC,12VDC option
Technical Specifications
| Electrical Specification | ||||
| Output circuit | Open collector | Voltage output | Push pull output | Line driver output |
| Power Vcc | 5~30 | 5~30 | 5±0.25 5~30 | 5±0.2512V |
| Current | ≤100mA | ≤100mA | ≤100mA | ≤120mA |
| Load current | 40mA | 40mA | 40mA | 60mA |
| High-level output | Min Vcc*70% | Min Vcc-2.5V | Min Vcc-1.5V | Min 3.4V |
| Low-level output | Max 0.4V | Max 0.4V | Max 0.8V | Max 0.4V |
| Rise Time Tr | Max 1us | Max 1us | Max 1us | Max 20ns |
| Fall Time Tr | Max 1us | Max 1us | Max 1us | Max 20ns |
| Max Responding Frequency | 20kHz | 20kHz | 20kHz | 20kHz |
| Mechanical Specification | ||||
| Max speed(r/min) | Working Temperature | Storage Temperature | Protection Grade | Weight |
| 600 | -25~70℃ | -30~85℃ | IP50 | 750g |
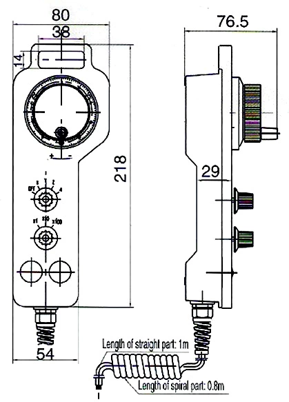
Dimensions(mm)

Connection Table
| Item | Wire color | Signal | Note |
| 1 | Red | +5v | Pulses generator MPG |
| 2 | Black | 0v | |
| 3 | Green | A | |
| 4 | White | B | |
| 3*(or 17) | Purple | A- | When Line driver |
| 4*(or 18) | Purple/black | B- | |
| 5 | Green/black | + | Indicator |
| 6 | White/black | - | |
| OFF | Axis selection | ||
| 7 | Yellow | X | |
| 8 | Yellow/black | Y | |
| 9 | Brown | Z | |
| 10 | Brown/black | 4 | |
| 9*(or 15) | Pink | 5 | select the 5th, 6th axis |
| 10*(or 16) | Pink/black | 6 | |
| 11 | Grey | X1 | Select multiple |
| 12 | Grey/black | X10 | |
| 13 | Orange | X100 | |
| 14 | Orange/black | COM | Control switch |
| 19 | Red/Black | Back up | |
| Shielding |













